For full functionality of this site it is necessary to enable JavaScript.
EMIN.CO.ID
0
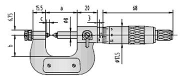
Samyon 711-04 Thread Micrometer (75-100mm, 0.01mm) | EMIN.CO.ID